客服热线:4006112220
微信公众号
首页>新闻中心

京交会 | 中拍平台亿元标的溢价千余万成交!

京交会 | 中拍平台亿元标的溢价千余万成交!

中拍平台 中拍协 昨天

拍卖场向来是个充满金钱味道的地方

买家们在屏幕后方激烈竞争

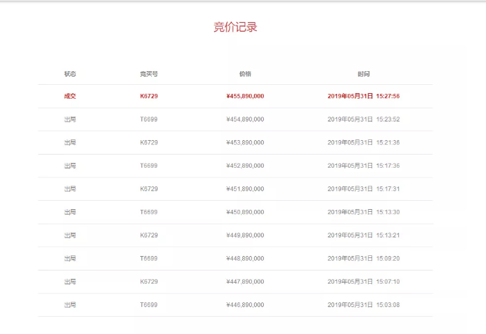
5月31日中拍平台就上演了一场亿元标的争夺战

湖南省湘诚誉峰房地产开发有限公司70%股权及26825.58419万元债权

以444,890,000元起拍

经过12次竞价

最终溢价1100万元

以455,890,000元成交!

33.png



您瞧

这一次次出价 一串串数字

是不是隔着屏幕都感受到硝烟弥漫?


35.png

互联网拍卖可以跨越地域限制

为标的匹配更多元的买家

股权债权拍卖

来中拍平台吧!

欢迎致电 400-898-5988



相关新闻

更多>
  • 人间正道 浩荡前行——习近平主席出席首届中国国际进口博览会纪实

  • 致敬改革开放四十周年——2018中国慈善年会征文启动

  • “互联网+不良资产”经典沙龙圆满成功,收获颇丰!

  • 康晓光:公益商业化、政商合流阉割公益,被滥用的社会企业是其“抓手”